قطعا سلاطین نمایشگاه MWC 2019 بارسلونا، گوشی های هوشمند انعطاف پذیر بودند. پیش از این نمایشگاه سامسونگ گلکسی Fold به عنوان گوشی انعطاف پذیر این شرکت با همراه گوشی های خانواده سامسسونگ گلکسی اس 10 رونمایی شد، بعد از آن نیز هوآوی میت ایکس در نمایشگاه MWC امسال رونمایی شد. حال نیز موتورولا با انتشار تصویری خبر از رونمایی گوشی جدید انعطاف پذیر خود داده است.
طرحی متفاوت اما آشنا
پیش از این نیز طراحی های در نظر گرفته شده برای گوشی های انعطاف پذیر هوآوی و سامسونگ، تقزیباشبیه به هم بودند اما با این تفاوت که گلکسی Fold از یک صفحه نمایش یکدست و صفحه نمایش کوچکتری بهره می برد که در هنگام تا شدن به سمت داخل خم می شود و صفحه نمایش کوچکتر در حالت تا شو مورد استفاده قرار می گیرد، اما برای هوآوی میت ایکس همان یک صفحه نمایش اصلی و بزرگتر در نظر گرفته شده که به سمت بیرون تا می شود و در این صفحه نمایش انعطاف پذیر هنگام خم شدن، تبدیل به دو صفحه نمایش می شود.

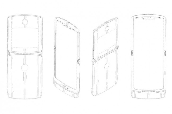
طرح در نظر گرفته شده برای گوشی انعطاف پذیر موتورولا
اما محصول جدید موتورولا بیشتر شبیه به مدل در نظر گرفته شده برای گلکسی Fold می باشد، و از یک صفحه نمایش یکدست و یک صفحه نمایش کوچکتر در هنگام تا شدن بهره می برد. اما تفاوتی نیز وجود دارد، برای این گوشی هوشمند صفحه نمایش در نظر گرفته شده از بالا خم می شود و صفحه نمایش کوچکتر نمایان می شود.
همانطور که در تصاویر می بینید نوع طراحی در نظر گرفته شده برای این گوشی هوشمند کاملا مشخص می باشد. چنین طراحی یکی از طراحی در نظر گرفته شده سامسونگ برای گوشی های انعطاف پذیر آینده این شرکت نیز می باشند.
منبع: gsmarena




